Настольно-сверлильный вертикальный станок 2M112

В наличии
Цена: по запросу
Производитель: Россия
  • Макс. Ø сверления: 12 мм
  • Шпиндель: В18
  • Частота вращения шпинделя: 450-4500 об/мин;
  • Наибольшее перемещение шпинделя: 100 мм;
  • Двигатель: 0,55 кВт.
Купить
Получить прайс
Лизинг
  • Описание
  • Характеристики
  • Комплектация
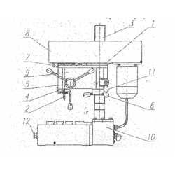
  • Настольно-сверлильный вертикальный станок 2M112 применяют в производстве для просверливания отверстий небольшого размера в маленьких деталях, преимущественно изготавливаемых из чугуна, сплавов цветных металлов, стали. Диаметр таких отверстий не превышает двенадцать миллиметров, размер нарезной резьбы также сохраняется в пределах двенадцати миллиметров. Станок насчитывает пять частот вращения шпинделя. Подачу шпинделя осуществляет продуманная конструкция. Их можно отрегулировать с использованием клиноременной передачи. Если использовать тумбу, то становится возможным сверление на торцах деталей, в большей степени валов. Диаметр вала — до 120 миллиметров, длина — до 1000 миллиметров. На настольно-сверлильном станке предусмотрена нулевая защита, что препятствует самозапуску прибора, если в сети неожиданно появится напряжение. Из мер безопасности, предусмотренных на оборудовании, имеется винт заземления.

    Особенности:

    • Стол 250х250 мм (Вы получаете станок со столом 250х250 мм. У других производителей размеры стола 200х250 мм);
    • 2 вида электродвигателей (Взависимости от задач на выбор предлагаем два электродвигателя: 0,55 кВт (⌀1-12 мм) и 0,75 кВт (⌀1-16 мм));
    • Технологически обеспечена высокая перпендикулярность оси вращения шпинделя, относительно стола;
    • ​​​​​​Ни одного выхода из строя (За весь период производства не было ни одного обращения по гарантии);
    • Станок 2М112 может работать 24/7 без выключения.

     

  • Характеристика Значение
    Диаметр сверления в стали 45 ГОСТ 1050-88, мм 12
    Вылет шпинделя (расстояние от оси шпинделя до образующей колонны), мм 200
    Размер конуса шпинделя наружный по ГОСТ 9953-82 В18
    Наибольшее перемещение шпинделя, мм 100
    Цена деления лимба, мм 1
    Наибольшее расстояние от торца шпинделя до рабочей поверхности стола (плиты), не менее, мм 400
    Размеры рабочей поверхности стола, мм 250 х 250
    Количество Т-образных пазов 3
    Расстояние между пазами, мм 50
    Ширина пазов, мм 14
    Число скоростей шпинделя 5
    Число оборотов, оборотов/минуту 450-4500
    Подача при сверлении ручная
    Мощность электродвигателя, кВт 0,55
    Частота скорости вращения, оборотов/минуту 1500
    Напряжение питания, В 380
    Габаритные размеры, мм 770 x 370 x 950
    Масса нетто, кг 130

     

    • Настольно-сверлильный станок 2М112 в сборе - 1шт.;
    • Руководство по эксплуатации - 1 экз.;
    • Патрон сверлильный ПС16В18 - 1шт.;
    • Тара безвозвратная - 1 кмп.
Остались вопросы?
Заполните форму, и наш специалист свяжется с Вами!
Передавая информацию сайту Вы принимаете условия Политики защиты персональной информации